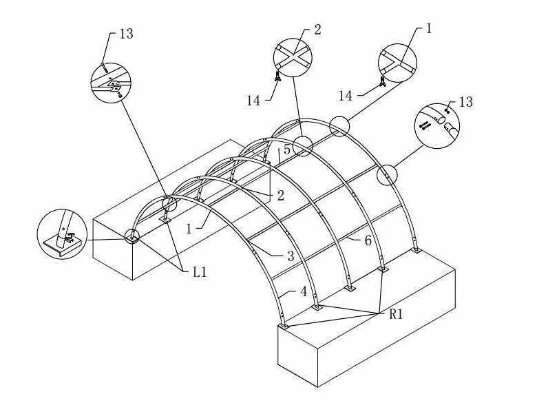
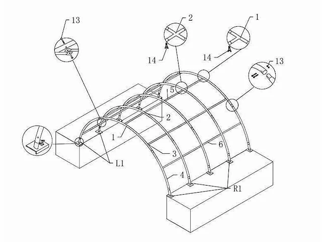
2025 - easy-going - (6x6x2 meter) - shelter overkapping / tent tussen 2 containers c2020

Voorzien van pvc zeildoek 610 gr; kleur wit; enkele truss; gegalvaniseerd stalen frame bogen 45 * 1,5 mm Gording 32 * 1,2 mm; ruimte tussen bogen 1.5 mtr; geleverd in kist 750x1920x340 mm; handleiding aanwezig; zie voor meer info downloads © ongebruik; Transportafmeting metalen krat: 1910x740x330 mm (lxbxh) Merk: Easy-Going Type: (6x6x2 meter) Bouwjaar: 2025 Eigen gewicht: 250kg Totale afmeting L: 6000mm Totale afmeting Breedte: 6000mm Totale afmeting Hoogte: 2000mm GS Code: 63062200

Startbod
€ 1,00
Aantal biedingen
1
Huidig bod
€ 1,00
Einddatum
Kavel nummer: 458
Einddatum
Einde op 29/10/2025 18:00
Veilinghuis
Troostwijk
© 2025 Alleveilingen. Alle rechten voorbehouden.